Warren, OH
330-847-7644
Our Brands
Toggle navigation
Home
Financing
Brands
Manufacturer Models
OEM Promotions
Yamaha
Triumph
Royal Enfield
Kayo
Stacyc
Inventory
All Inventory In Stock
New Inventory In Stock
Used Inventory
Value Your Trade-In
Request a Model
Schedule a Test Ride
Secure Financing
Parts
Parts Department
Parts Finder
Service
Service Department
Warranty & Recall Look-Up
About
Our Dealership
Our Team
Reviews
Customer Survey
Newsletter Sign-Up
Employment
Events Calendar
Gift Cards
Location & Hours
Contact
Warren, OH
|
Fiche | Parts Diagrams
2026 Yamaha
Home
›
Parts
›
Parts Finder
Search by :
Part / Desc
VIN
Yamaha
*Please enter at least 3 characters
SEARCH
Manufacturer
Yamaha
Golf Carts
2026
UMAX TWO RALLY EFI (YUM2A26 UM)
VIEW WISH LIST
Select a Section
Show/Hide
AIR SHROUD & FAN
ALTERNATE FOR CHASSIS 1
ALTERNATE FOR CHASSIS 2
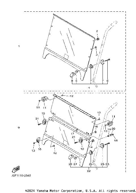
ALTERNATE FOR WINDSHIELD
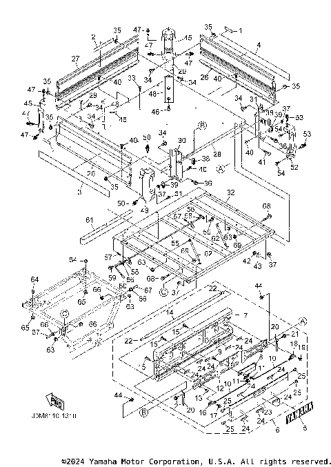
BODY
BODY 2
BODY FITTING
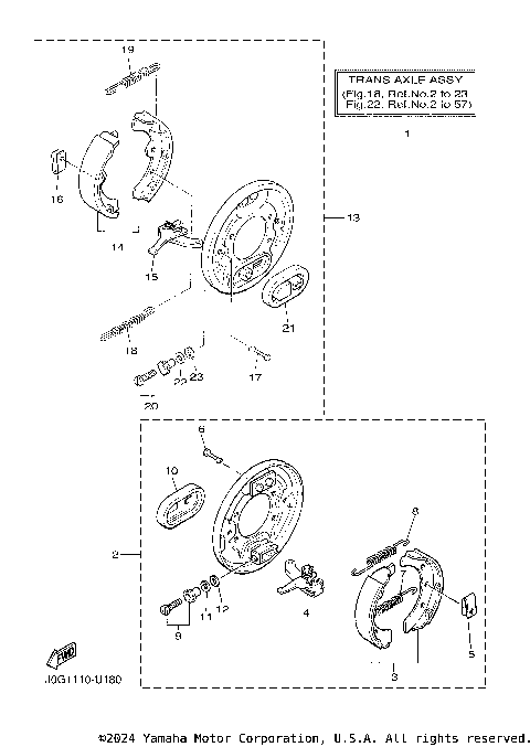
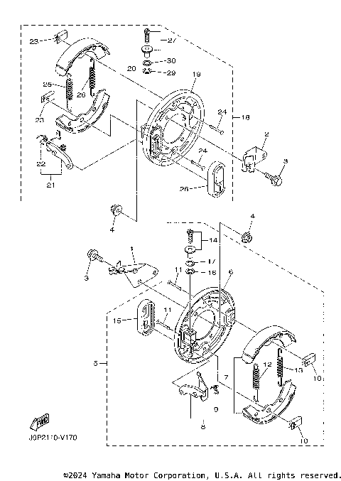
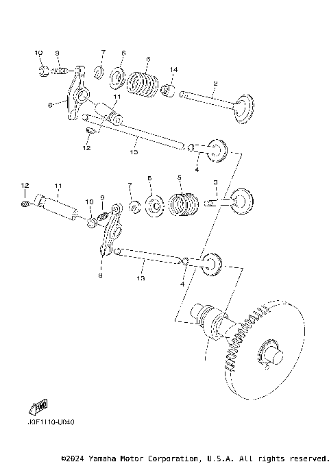
BRAKE 1
BRAKE 2
BUMPER
CAMSHAFT & VALVE
CARRIER
CRANKCASE
CRANKSHAFT & PISTON
CYLINDER HEAD
ELECTRICAL 1
ELECTRICAL 2
ENGINE 1
ENGINE BRACKET
EXHAUST
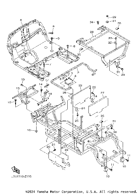
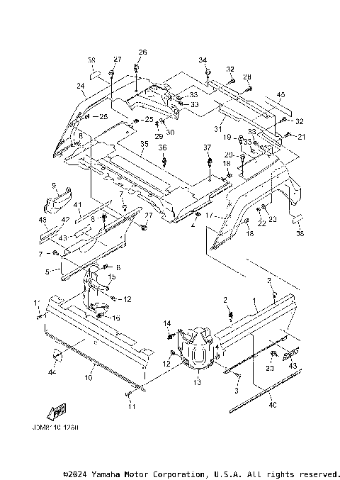
FRAME
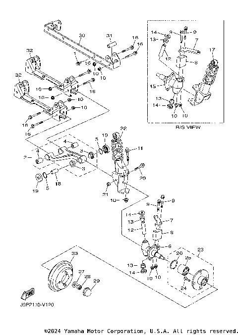
FRONT SUSPENSION
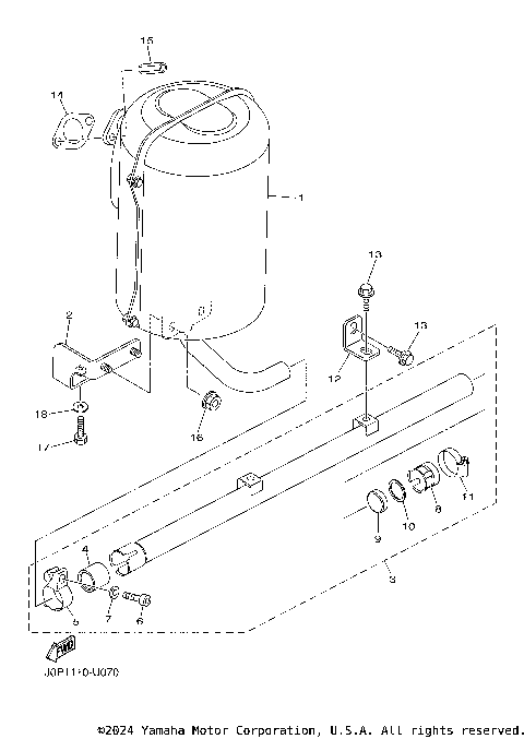
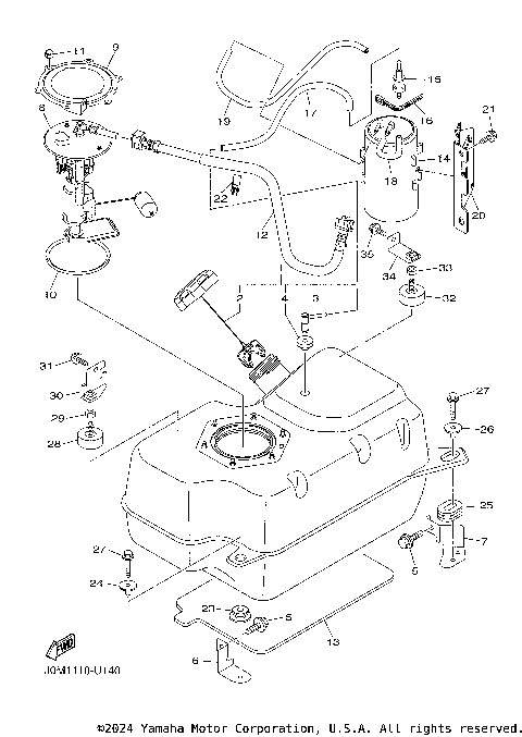
FUEL TANK
GOVERNOR
HEAD & TAIL LIGHT
INTAKE
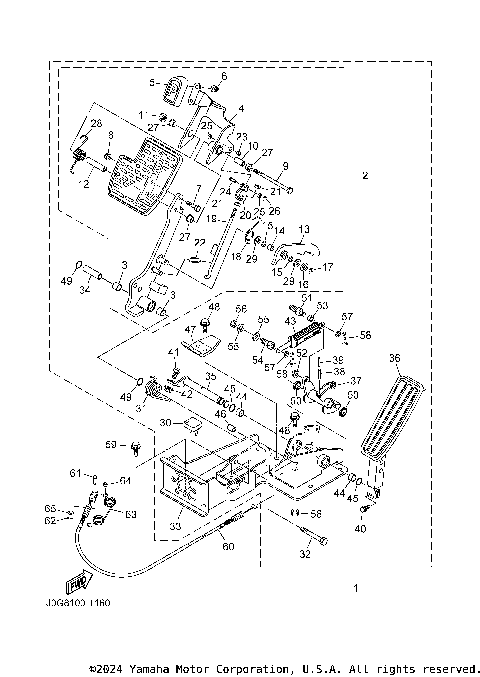
PEDAL ASSEMBLY
PEDAL WIRE
PRIMARY SHEAVE
REAR ARM & SUSPENSION
REAR VIEW MIRROR
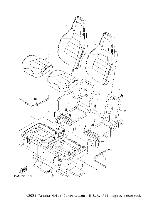
SEAT
SECONDARY SHEAVE
SHIFTER & CABLES
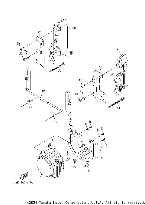
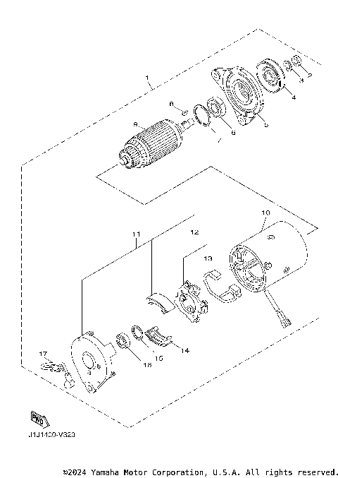
STARTING MOTOR
STEERING
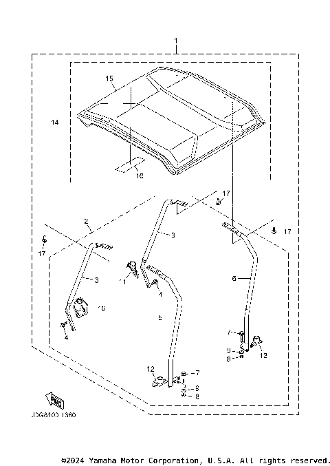
SUN ROOF
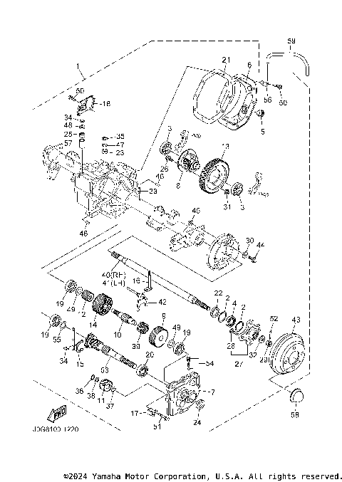
TRANSAXLE
WHEEL
AIR SHROUD & FAN
ALTERNATE FOR CHASSIS 1
ALTERNATE FOR CHASSIS 2
ALTERNATE FOR WINDSHIELD
BODY
BODY 2
BODY FITTING
BRAKE 1
BRAKE 2
BUMPER
CAMSHAFT & VALVE
CARRIER
CRANKCASE
CRANKSHAFT & PISTON
CYLINDER HEAD
ELECTRICAL 1
ELECTRICAL 2
ENGINE 1
ENGINE BRACKET
EXHAUST
FRAME
FRONT SUSPENSION
FUEL TANK
GOVERNOR
HEAD & TAIL LIGHT
INTAKE
PEDAL ASSEMBLY
PEDAL WIRE
PRIMARY SHEAVE
REAR ARM & SUSPENSION
REAR VIEW MIRROR
SEAT
SECONDARY SHEAVE
SHIFTER & CABLES
STARTING MOTOR
STEERING
SUN ROOF
TRANSAXLE
WHEEL
VIEW WISH LIST