Warren, OH
330-847-7644
Our Brands
Toggle navigation
Home
Financing
Brands
Manufacturer Models
OEM Promotions
Yamaha
Triumph
Royal Enfield
Kayo
Stacyc
Inventory
All Inventory In Stock
New Inventory In Stock
Used Inventory
Value Your Trade-In
Request a Model
Schedule a Test Ride
Secure Financing
Parts
Parts Department
Parts Finder
Service
Service Department
Warranty & Recall Look-Up
About
Our Dealership
Our Team
Reviews
Customer Survey
Newsletter Sign-Up
Employment
Events Calendar
Gift Cards
Location & Hours
Contact
Warren, OH
|
Fiche | Parts Diagrams
2024 Yamaha
Home
›
Parts
›
Parts Finder
Search by :
Part / Desc
VIN
Yamaha
*Please enter at least 3 characters
SEARCH
Manufacturer
Yamaha
Outboard Motors
2024
T9.9XPHB-2/T9.9XPB-20/T9.9LPB-20/T9.9LPHB-2/T9.9XPB2-2
VIEW WISH LIST
Select a Section
Show/Hide
BOTTOM COWLING
BRACKET 1
BRACKET 2
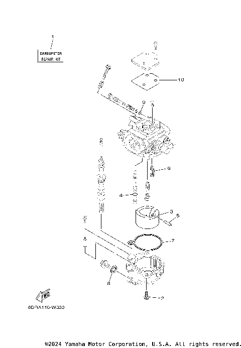
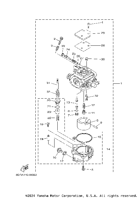
CARBURETOR
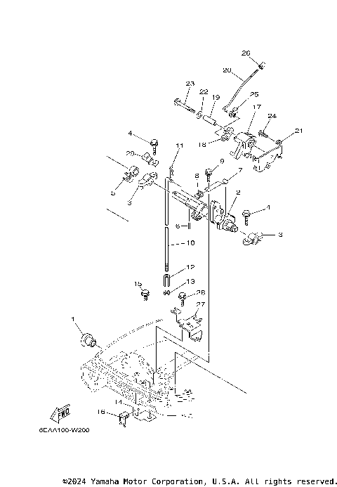
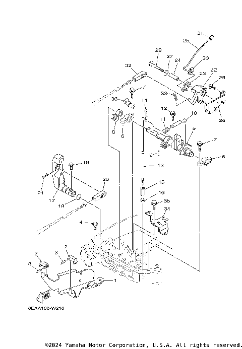
CONTROL 1
CONTROL 2
CRANKSHAFT & PISTON
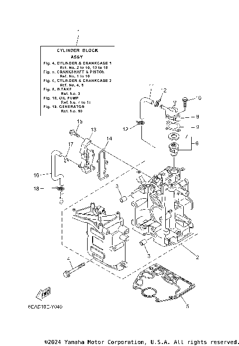
CYLINDER & CRANKCASE 1
CYLINDER & CRANKCASE 2
ELECTRICAL 1
ELECTRICAL 2
ELECTRICAL 3
ELECTRICAL 4
FUEL
FUEL TANK
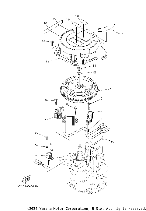
GENERATOR
INTAKE
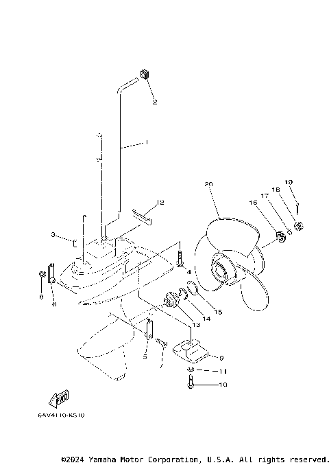
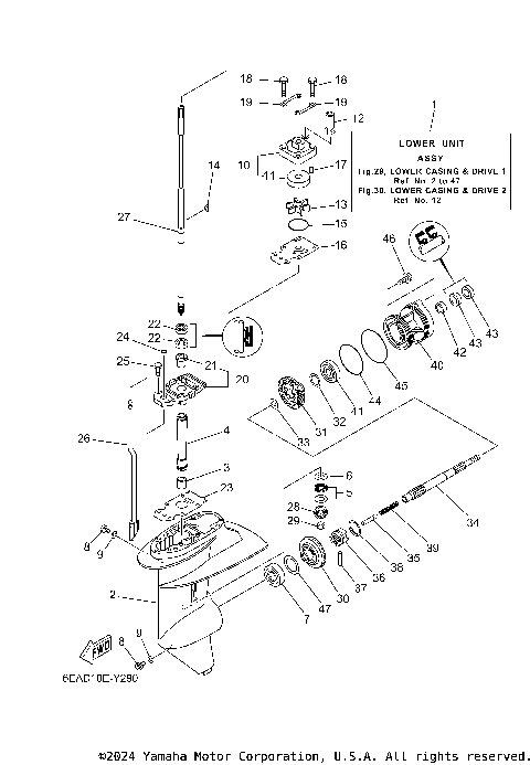
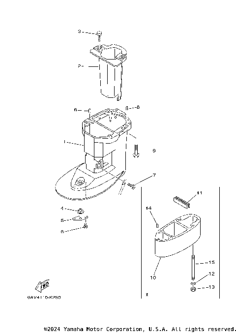
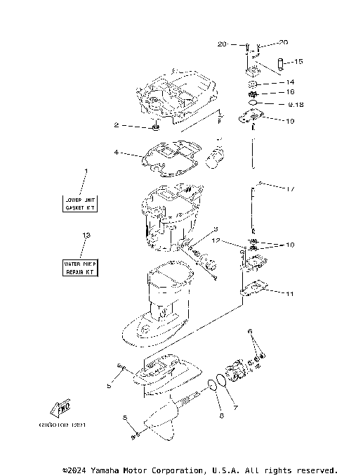
LOWER CASING & DRIVE 1
LOWER CASING & DRIVE 2
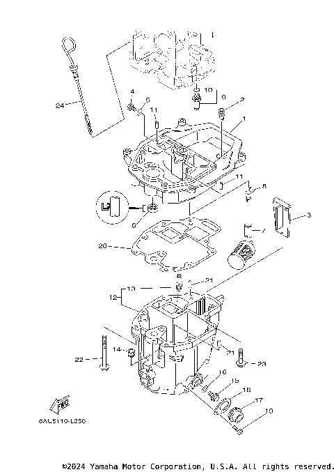
OIL PAN
OIL PUMP
OPTIONAL PARTS
POWER TILT ASSY
REMO CON ATTACHMENT
REPAIR KIT 1
REPAIR KIT 2
REPAIR KIT 3
SCHEDULED SERVICE PARTS
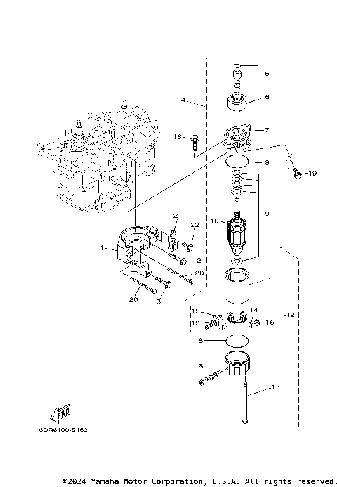
STARTING MOTOR
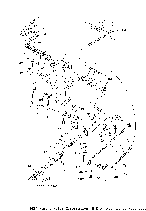
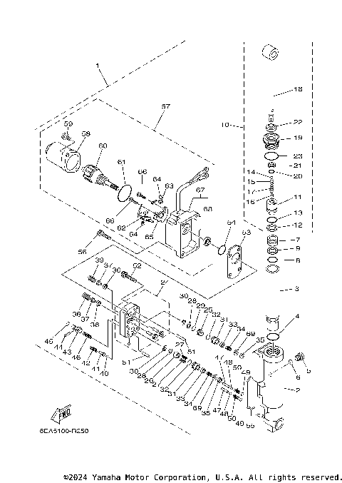
STEERING
STEERING FRICTION
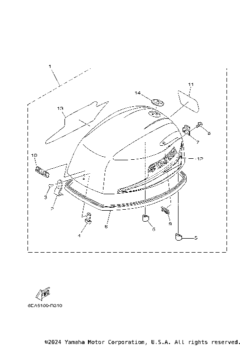
TOP COWLING 1
TOP COWLING 2
UPPER CASING
VALVE
BOTTOM COWLING
BRACKET 1
BRACKET 2
CARBURETOR
CONTROL 1
CONTROL 2
CRANKSHAFT & PISTON
CYLINDER & CRANKCASE 1
CYLINDER & CRANKCASE 2
ELECTRICAL 1
ELECTRICAL 2
ELECTRICAL 3
ELECTRICAL 4
FUEL
FUEL TANK
GENERATOR
INTAKE
LOWER CASING & DRIVE 1
LOWER CASING & DRIVE 2
OIL PAN
OIL PUMP
OPTIONAL PARTS
POWER TILT ASSY
REMO CON ATTACHMENT
REPAIR KIT 1
REPAIR KIT 2
REPAIR KIT 3
SCHEDULED SERVICE PARTS
STARTING MOTOR
STEERING
STEERING FRICTION
TOP COWLING 1
TOP COWLING 2
UPPER CASING
VALVE
VIEW WISH LIST